The February Coach 9 update is on the Miller Safety Platform and Coupler which is currently being installed on the coach.
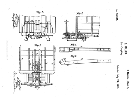
The Miller platform was invented by Ezra Miller and first patented in 1863, with improvements patented in July of 1866. It was designed to prevent telescoping of passenger cars in the event of collision by removing the slack between them.


To get a better understanding about how the Miller system worked, quarter scale models of two platforms were constructed by Eric Schade. The “metal” parts were 3D printed in plastic. Once built, the platforms were mounted on “tracks” which allowed the models to be slid together in order to understand coupling and uncoupling. They could also be rotated to represent curved track and be adjusted up and down to represent hills and bumps.

A full size pattern of the drawbar was made from wood, while patterns of the smaller parts were 3D printed, and reinforced with epoxy. The smaller parts were mounted on stout boards to help the foundry produce them. Cattail Foundry cast the parts.

The Miller system was much more about the platform and buffer and less about the coupling method. The platform has a double set of truss rods to give it greater resistance to collapsing under impact, and the buffer directs all buff forces directly into the car body. The drawbars provide the necessary means of draft while also being “automatic” insofar that crew members need not enter between cars to couple or uncouple.

We have devised an adapter that will allow Miller Hooks to mate with standard 3/4 size Janey couplers. Eventually, the entire “historic” passenger fleet of the WW&F will be equipped with the Miller Safety Platform and Coupler System, making our museum the only one in the world using it in regular service.
Meanwhile, THANK YOU! To date, you’ve helped us raise 61% of the funds needed to Finish Coach 9 to the Nines! Learn more and donate at www.wwfry.org/coach9

Thanks for your continued support and interest in the WW&F!
The Coach 9 Team

